产品简介
诺亚自动玻璃爆破系统是一款为应对密闭性好的大中型客车突发火灾等紧急情况而研制的一款集手动和自动于一体的钢化玻璃爆破系统,该系统安装方便、安全性高、响应速度快,能在瞬间启动,爆破钢化玻璃,给乘客打开几条绿色生命通道。
诺亚自动玻璃爆破系统性能符合JT/T1030-2016《客车电磁击窗器》标准要求,并经过质量技术监督局检测取得型式检验合格报告请放心使用。
诺亚自动玻璃爆破系统性能符合JT/T1030-2016《客车电磁击窗器》标准要求,并经过质量技术监督局检测取得型式检验合格报告请放心使用。
安装说明

◆自动玻璃爆破器应安装在乘客舱侧窗玻璃框骨架上侧面或是乘客舱应急逃生门玻璃框骨架上侧面。
◆安装高度选择在位于车辆地板面上方1000-1600mm范围内,确保出现紧急情况时乘员能方便使用。 ◆应保证安装支架有足够的支撑固定强度。
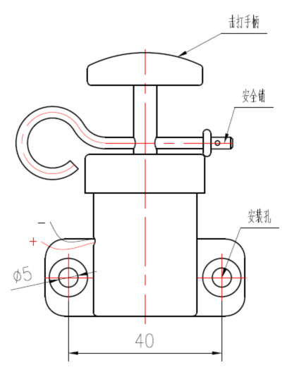
◆装置冲击头的输出口距玻璃面应保持≤5mm,可直接用2个M4*25的自锁自攻螺钉固定于玻璃框骨架上也可加装安装座。
◆当车辆较长需加装多个自动爆玻器同时使用时,应采用并联连接方式,电气连接线导电截面应≥0.75mm2。电源应直接连接车辆的常电状态,并配置3A保险丝和应急强制启动开关
◆强制启动开关应设有防止误操作的防护装置。
安装注意事项:
1、自动玻璃爆破器必须使用标称的工作电压和电流。
2、装置安装后应在醒目位置张贴标示:“非紧急情况请勿拔掉安全销”和“紧急情况时请不要靠近车窗”醒目警告。 3、仅限使用于厚度≤12mm的单层钢化玻璃和厚度≤18mm的双层中空钢化玻璃破碎。
4、安装后请勿直接将装置接线端子与主线端子对接,检查主线接线及测试主线端子电压及电流合格后确保启动开关处于关断状态后再将装置端子与主线端子对接。
5、产品未经专业人士许可请勿自行引爆测试;
注:非专业人士请勿自行在车辆加装此设备
启动方式
◆在车辆出现突发事件或紧急情况下,乘客有即刻需要从客舱内向外逃生时,可采用如下方式启动爆破器:
◆由逃生者拔下自动玻璃爆破器上的保险销(参见诺亚自动玻璃爆破器示意图),用手猛击自动爆破器的拍打手柄(参见诺亚自动玻璃爆破器示意图)实现手动击碎钢化玻璃;
◆驾驶员或照管人员强制触动自动玻璃爆玻器启动开关,自动击碎逃生口玻璃;
◆本产品与车内火灾报警系统联动应用时,能在乘客舱起火时,可实现自动启动爆破钢化玻璃。
◆由逃生者拔下自动玻璃爆破器上的保险销(参见诺亚自动玻璃爆破器示意图),用手猛击自动爆破器的拍打手柄(参见诺亚自动玻璃爆破器示意图)实现手动击碎钢化玻璃;
◆驾驶员或照管人员强制触动自动玻璃爆玻器启动开关,自动击碎逃生口玻璃;
◆本产品与车内火灾报警系统联动应用时,能在乘客舱起火时,可实现自动启动爆破钢化玻璃。
产品特点
1.体积小: 50mm*30mm*70mm;
2.重量轻:产品自身重量240g;
3.安装方便:可固定于玻璃固定边框上;
4.多重防护:安全销和航空钮子开关有效防止误操作。
2.重量轻:产品自身重量240g;
3.安装方便:可固定于玻璃固定边框上;
4.多重防护:安全销和航空钮子开关有效防止误操作。
技术参数
启动方式:手/自动
使用环境温度:-30℃至85℃
启动电流(A):≤2A
安全电流:≤150mA
启动电压: DC12V/24V
使用环境温度:-30℃至85℃
启动电流(A):≤2A
安全电流:≤150mA
启动电压: DC12V/24V
使用和维护
1、自动爆玻器质保期为2年,使用有效期为5年。
2、应定期检查自动爆玻器,特别是检查固定是否牢靠无松动,保险栓是否有被损坏,若装置固定已松动或保险栓已损坏,必须即刻修复或更换。
3、装置保险栓因人为被拔出时,装置即刻发出警报声,此时装置需要重新复位,并更换同等型号的保险扣配件。按要求定期更换报警电池。
4、遵守国家及行业的其它相关规定要求。
2、应定期检查自动爆玻器,特别是检查固定是否牢靠无松动,保险栓是否有被损坏,若装置固定已松动或保险栓已损坏,必须即刻修复或更换。
3、装置保险栓因人为被拔出时,装置即刻发出警报声,此时装置需要重新复位,并更换同等型号的保险扣配件。按要求定期更换报警电池。
4、遵守国家及行业的其它相关规定要求。
包装运输及储存
外包装完整,不得有进水及油渍等;
运输时请勿靠近火源,应轻装轻放,防止碰撞,避免曝晒、雨淋与其他易燃、易爆物品隔离;
储存时请至于阴凉干燥处隔离存放。
运输时请勿靠近火源,应轻装轻放,防止碰撞,避免曝晒、雨淋与其他易燃、易爆物品隔离;
储存时请至于阴凉干燥处隔离存放。
订货及联系方式
本产品可按客户要求订做自动玻璃爆破器的连接接头,便于客户安装。
厂家可提供专业技术人员指导安装。
厂家可提供专业技术人员指导安装。





